 
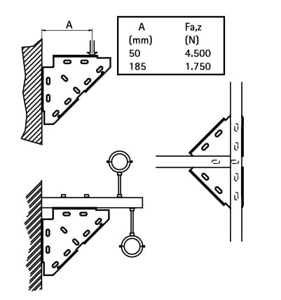
															Caratteristiche tecniche e vantaggi
- Realizzata in acciaio S235JR
- Zincata
- Utilizzabile anche come mensola
 Â
 
GammaRange
									AllegatiAttachments
							GammaRange
					Dati tecnici
Technical Data
| Codice | Per profili | Dimensioni [mm] | Aggiungi alla WishlistAdd to Wishlist | 
|---|---|---|---|
| 899320 | CorRail | 200x200 | AggiungiAdd  | 
AllegatiAttachments
					1 allegato:
- 
						 Scheda tecnica 143 KB


 
						